Product Summary
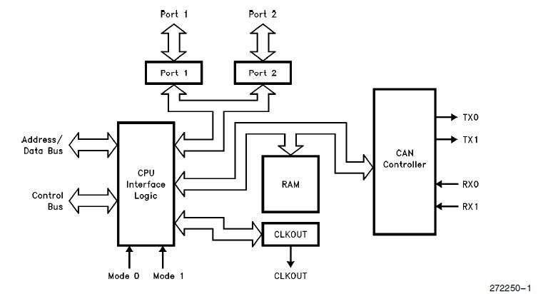
The AN82527 is a serial communications controller. It is a highly integrated device that performs serial communication according to the CAN protocol. It performs all serial communication functions such as transmission and reception of messages, message filtering, transmit search, and interrupt search with minimal interaction from the host microcontroller, or CPU. The AN82527 features a powerful CPU interface that offers flexibility to directly interface to many different CPUs. It provides storage for 15 message objects of 8-byte data length.
Parametrics
AN82527 absolute maximum ratings: (1)Storage Temperature: -60℃ to +150℃; (2)Voltage from Any Pin to VSS: -0.5V to +7.0V.
Features
AN82527 features: (1)Supports CAN Specification 2.0: Standard Data and Remote Frames; Extended Data and Remote Frames; (2)Programmable Bit Rate; (3)Programmable Clock Output; (4)Flexible Interrupt Structure; (5)Flexible Status Interface; (6)Configurable Output Driver; (7)Configurable Input Comparator; (8)Two 8-Bit Bidirectional I/O Ports; (9)44-Lead PLCC Package; (10)44-Lead QFP Package; (11)Pinout Compatibility with the 82526.
Diagrams

| Image | Part No | Mfg | Description | ![]() |
Pricing (USD) |
Quantity | ||||||||||||||||||
|---|---|---|---|---|---|---|---|---|---|---|---|---|---|---|---|---|---|---|---|---|---|---|---|---|
![]() |
![]() AN82527F8 |
![]() |
![]() IC CAN CONTRL 5V AUTOTEMP 44PLCC |
![]() Data Sheet |
![]() Negotiable |
|
||||||||||||||||||
| Image | Part No | Mfg | Description | ![]() |
Pricing (USD) |
Quantity | ||||||||||||||||||
![]() |
![]() AN820001 |
![]() |
![]() TLAPS SENSOR NO MAGNET 0-180DEG |
![]() Data Sheet |
![]()
|
|
||||||||||||||||||
![]() |
![]() AN820002 |
![]() |
![]() TLAPS SENSOR NO MAGNET 0-360DEG |
![]() Data Sheet |
![]()
|
|
||||||||||||||||||
![]() |
![]() AN820031 |
![]() |
![]() SENSOR TLAPS WIRE VERSION 180DEG |
![]() Data Sheet |
![]()
|
|
||||||||||||||||||
![]() |
![]() AN820032 |
![]() |
![]() SENSOR TLAPS WIRE VERSION 360DEG |
![]() Data Sheet |
![]()
|
|
||||||||||||||||||
![]() |
![]() AN820035 |
![]() |
![]() MAGNETIC SENSOR ROTARY POSITION |
![]() Data Sheet |
![]()
|
|
||||||||||||||||||
![]() |
![]() AN8245K |
![]() Other |
![]() |
![]() Data Sheet |
![]() Negotiable |
|
||||||||||||||||||
(China (Mainland))










