Product Summary
The ADM705ARZ is a high-performance Low Cost Microprocessor Supervisory Circuit.
Parametrics
ADM705ARZ Parametrics:
Packaging
Tube
Type
Simple Reset/Power-On Reset
Number of Voltages Monitored
1
Output
Push-Pull, Totem Pole
Reset
Active Low
Reset Timeout
160 ms Minimum
Voltage - Threshold
4.65V
Operating Temperature
-40°C ~ 85°C
Mounting Type
Surface Mount
Package / Case
8-SOIC (0.154", 3.90mm Width)
Supplier Device Package
8-SOIC N
Dynamic Catalog
Simple Reset/Power-On Reset
Features
ADM705ARZ Features:
- Guaranteed RESET valid with VCC = 1 V
- 190 μA quiescent current
- Precision supply voltage monitor ----4.65 V
- 200 ms reset pulse width
- Debounced TTL/CMOS manual reset input (MR)
- Independent watchdog timer
- 1.60 sec timeout
- Voltage monitor for power-fail or low battery warning
- Superior upgrade for MAX705 to MAX708
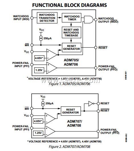
Diagrams

| Image | Part No | Mfg | Description | ![]() |
Pricing (USD) |
Quantity | ||||||||||||||||||
|---|---|---|---|---|---|---|---|---|---|---|---|---|---|---|---|---|---|---|---|---|---|---|---|---|
![]() |
![]() ADM705ARZ |
![]() |
![]() IC SUPERVISOR MPU 4.65 WD 8SOIC |
![]() Data Sheet |
![]()
|
|
||||||||||||||||||
![]() |
![]() ADM705ARZ-REEL |
![]() |
![]() IC SUPERVISOR MPU 4.65V WD 8SOIC |
![]() Data Sheet |
![]()
|
|
||||||||||||||||||
![]() |
![]() ADM705ARZ-REEL7 |
![]() |
![]() IC SUPERVISOR MPU 4.65V WD 8SOIC |
![]() Data Sheet |
![]()
|
|
||||||||||||||||||
(China (Mainland))









