Product Summary
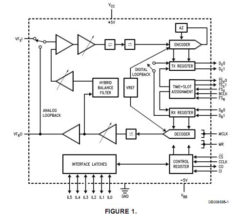
The TP3070V-G is a second-generation combined PCM CODEC and Filter device optimized for digital switching applications on subscriber line and trunk cards. Using advanced switched capacitor techniques, the TP3070V-G combines transmit bandpass and receive lowpass channel filters with a companding PCM encoder and decoder. To enable the TP3070V-G to interface to the SLIC control leads, a number of programmable latches are included; each may be configured as either an input or an output.
Parametrics
TP3070V-G absolute maximum ratings: (1)VCC to GND:7V; (2)Voltage at VFXI:VCC + 0.5V to VBB - 0.5V; (3)Voltage at any Digital Input:VCC + 0.5V to GND - 0.5V; (4)Storage Temperature Range:-65℃ to + 150℃; (5)VBB to GND:-7V; (6)Current at VFR0:±100 mA; (7)Current at any Digital Output:±50 mA; (8)Lead Temperature(Soldering, 10 sec.):300℃.
Features
TP3070V-G features: (1)Direct interface to solid-state SLICs; (2)Simplifies transformer SLIC; single winding secondary; (3)Standard serial control interface; (4)80 mW operating power (typ); (5)1.5 mW standby power (typ); (6)Designed for CCITT and LSSGR applications; (7)TTL and CMOS compatible digital interfaces; (8)Extended temperature versions available for -40 to +85℃.
Diagrams

| Image | Part No | Mfg | Description | ![]() |
Pricing (USD) |
Quantity | ||||||||||||
|---|---|---|---|---|---|---|---|---|---|---|---|---|---|---|---|---|---|---|
![]() |
![]() TP3070V-G |
![]() National Semiconductor (TI) |
![]() Audio CODECs |
![]() Data Sheet |
![]()
|
|
||||||||||||
![]() |
![]() TP3070V-G/63 |
![]() National Semiconductor (TI) |
![]() Audio CODECs |
![]() Data Sheet |
![]()
|
|
||||||||||||
![]() |
![]() TP3070V-G/NOPB |
![]() National Semiconductor (TI) |
![]() Audio CODECs |
![]() Data Sheet |
![]()
|
|
||||||||||||
![]() |
![]() TP3070V-G/63SN |
![]() National Semiconductor (TI) |
![]() Audio CODECs |
![]() Data Sheet |
![]()
|
|
||||||||||||
(China (Mainland))










